网站首页
当前位置:
主页
>>
查分数
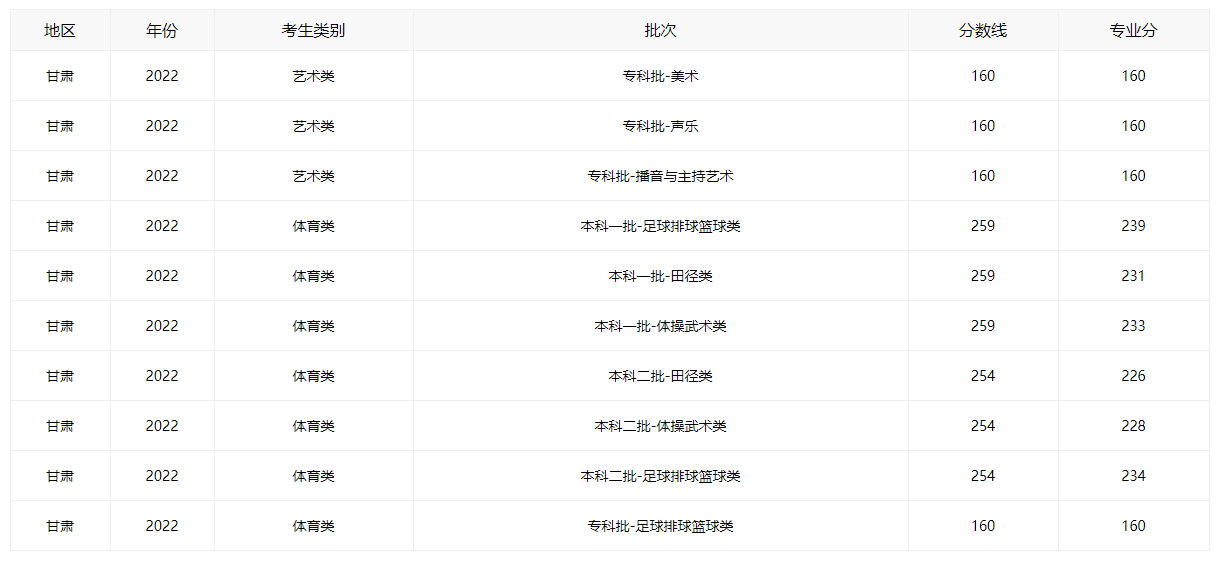
甘肃:2022年普通高校招生录取控制分数线
发布者:考生查查网 发布时间:2022-08-19
( 免责声明:本号对所有原创、转载文章陈述与观点均保持中立,内容仅供读者学习和交流。文章、字体、图片等版权归原作者享有,如有侵权,请留言联系更正或删除。)